
,投稿来源:BT财经,一直在融资但一直缺钱的男人,和他永远“即将量产”的车。,2020年,合肥靠着蔚来浮盈了十几倍,这简直是一笔载入史册的投资,不少地方政府看得心里直痒痒。与此同时,新能源汽车及相关产业,也成为了全国各级政府都在争取的支柱产业。,大家都想投新能源,但苦于没有好标的。广东珠海成为经济特区以来,也一直很想在新能源产业链中掘点金。,珠海现在有两家新能源车企:银隆新能源和中兴智能汽车,都聚焦于客车市场,而乘用车方面,蔚来、小鹏、理想、威马、拜腾都被抱走了,想争取都没机会......,其他的矮子里面拔高个儿,诶!还真发现还有个没回国的家伙,手里捏着市场稀缺的新能源标的啊。,
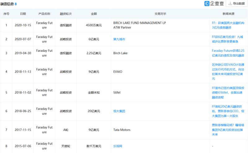
FF+珠海:合作共赢,说到新能源造车,还没回国的贾老板心想,这不又是一起为梦想窒息吗?这事儿我更专业啊,我不仅仅有PPT,我还真有系统,就差钱了。,所以,差钱的贾老板,貌似又遇到了转机。,先来回顾一下FF本月的大新闻:,1月11日,据彭博社报道,FF正寻求通过SPAC(特殊目的并购)的方式在美股上市,将与一家名为Property Solutions Acquisition Corp.的公司合并,估值约为30亿美金;,1月25日,据路透社报道,FF计划在国内一线城市新建工厂,初期产能为10万台,并邀请吉利汽车提供制造服务;,1月26日,媒体称FF正在国内寻求新一轮融资,吉利汽车计划向FF投资3000万到4000万美元,恒大集团也参与了此次融资洽谈;,1月27日,媒体正是宣布FF获得了来自珠海市的国资投资,而珠海与FF的接触在 2020 年底就已经开始了。,此时距法拉第未来发布首款量产车型FF91已经过去4年,贾老板在美国的“例会”已经开了三年半(2017年7月5日,乐视创始人贾跃亭去美国洛杉矶“开例会”后再未回国),距FF 91第一次预计量产交付的时间已经过去两年多。,期间,贾跃亭多次称FF 91距离量产“仅剩临门一脚”,但每次都因为资金短缺,临门这一脚悬在空中始终没踢出来。,现金流紧张归紧张,FF却总能在危急关头拿到融资,化险为夷。FF在中国的注册公司法法汽车(中国)有限公司融资信息显示,在乐视暴雷、贾跃亭去美国后,FF依然拿到包括5轮战略投资和两轮债券融资在内的7轮融资。,

,不过相比之下,今年年初FF的融资显得格外重要。据南方+报道,此次参与投资的是珠海两大龙头国企——格力集团与华发集团,但投资金额低于之前媒体报道的20亿元。,即使因涉及保密协议,此次珠海国资的具体投资金额和条款暂不能透露,珠海市政府也已经基本表明了态度,FF不仅在珠海建设生产基地,还极可能受到政策扶持。,

,(法法汽车(珠海)有限公司已于2020年12月14日注册成立),对珠海来说,广东省相关文件中明确提出,要优化以广州、深圳、珠海、佛山、肇庆为重点的汽车产业区域布局,传统汽车与新能源汽车共同发展,打造具有国际影响力的汽车产业集群;珠海市着力打造的五大千亿级新兴产业集群中也有新能源和新能源汽车。,所以,比PPT造车先进一步的贾老板,手中确实有地方看重的东西,FF和珠海属于合作共赢关系。无论你再怎么觉得这事儿神奇,贾老板的厉害之处就在于,他又双叒叕活过来了…,
诸多怀疑,虽然这次FF动静不小,看起来志在必得,但是由于之前“狼来了”的故事讲的太多,对于FF是否真的可以实现量产,市场还是持一定的怀疑态度。,最近一次关于FF 91的新闻出现在去年12月初,FF官方推特发布动态称,FF 91预量产车组装完成,将加入现有的测试队伍,帮助继续推进FF 91项目。,

,在FF官方展示的视频中,车间及生产工位的自动化程度看起来并不高,甚至有些简陋。这让人不得不担心FF的实际生产能力,以及其产品的品控。不知FF是故意隐藏了自己的实力,还是真的资金不够、手工来凑。,即使在合作方的帮助下,FF 91顺利量产,消费者是否会为其买单?根据现任CEO毕福康介绍,FF 91在中国和美国的定价分别是200万元和20万美元,以FF 91的性能,恐怕价格将劝退绝大多数人。,太平洋汽车网的问题“贾跃亭的FF91卖200万,会有人买单么?”下,有回复详细介绍了FF 91的优点。,

,其中,造型设计、打开方式、车内舒适三点称得上人性化、注重细节,但这些都不是消费者对“充满未来科技感”的新能源汽车最关注的点——毕竟200万元的价格,可选的舒适车型太多了。,FF 91实体车(而非PPT)最近一次亮相是在2019年7月底美国的一次豪车展上,根据相关报道,参展车车内外共配备了10块显示屏,副驾驶及后座前面均有屏幕,且后座上的屏幕尺寸可达27英寸。也许这将是未来的流行趋势,但现在看来还是博眼球的成分更大,消费者还要为这些大概率华而不实的屏幕买单。,真正涉及核心竞争力的,是FF自研的+VPA,以及2.39秒的百公里加速。去年到今年大卖的特斯拉model 3和model Y高性能版百公里加速都超过3秒,FF 91在这方面的确领跑行业。,+VPA让FF可以采用电池串,与普遍采用的一整块大电池相比,更具灵活性,可根据实际需要增减电池串。对FF来说,电池串让底盘可以自由伸缩,适用各种车型,以此来设计不同车型时降低成本。但据网络大+V招财大牛猫的亲身体验,+VPA可能导致乘坐体验不佳。,

,说到电池,FF官网上的续航里程依然停留在300+英里(约合483公里),这在诸多新能源车企向“一千公里俱乐部”之时,显得格格不入。如果其电芯真的像官网所称“拥有世界最高的能量密度”,FF 91为什么不提高续航里程?是认为没必要吗?愿意花200万的消费者可能觉得,很有必要。,

,如果消费者不买单,即便拿到一级市场融资、有政策支持,也未必能顺利上二级市场;即使成功上市了,二级市场资本也不会买单。,
贾跃亭和毕福康,百度搜索“贾跃亭为什么还能融到资”,对此问题感兴趣的人还真不少。相对有说服力的回答是,贾跃亭创业的过程让人看到了他有梦想且为了创业愿意忍辱负重继续前行的能力。参考巴顿将军的名言:“衡量一个人成功的标志,不是看他登到顶峰的高度,而是看他跌到低谷的反弹力。”贾老板的反弹能力极强这毫无疑问。,

,但是投资毕竟不是做慈善,投资人要的是真实收益,没有那么多人愿意为了不知道什么能实现的梦想买单。去年到今年之所以FF能拿到不少钱,一是因为新能源汽车这个行业太热,谁都想上车,而FF挣扎了这么多年,总应该比从零开始的车企要好一点;而是因为现在市场上美元太多,人们都想法设法把钱投出去。所以有不少基本面不好的企业最近都在赶着上市,因为错过这波可能真的没机会了。,有人认为,2019年10月贾跃亭在美国发布个人破产重组方案后,前宝马副总裁毕福康接替贾跃亭继续操盘FF,所以FF的基本面可能已经足够好、可以投资了。,毕福康因“宝马i8之父”为人所熟知,当年他克服内外部极大压力才把i8从一个概念变为现实,的确有能力有魄力。然而,回顾毕福康的创业之路——在他的管理下拜腾“3年烧光84亿,造不出量产车”,在未宣布从拜腾离职情况下高调出席了艾康尼克的新车发布会,几个月后又出任FF CEO——我们不知道有了毕福康后的FF会变得更好还是更坏。,FF计划通过SPAC上市,上市流程极为简单:Property SolutionsAcquisition Corp.是一家只有现金(没有实际业务和其他资产)的壳公司,已经在美股上市,如果和FF谈妥,则壳公司用账上的现金换取FF的股权,FF直接获取上市席位同时,壳公司股东获取回报。,值得注意的是,通过SPAC上市不用披露管理信息和财务信息,更有可能依靠其描绘的美好未来吸引投资者的钱。,我们真心希望“最佳产品经理”贾跃亭和“职业经理人”毕福康之间能产生奇妙的化学反应,带领FF真的创造惊喜,而不是两个“擅长”烧钱的人一拍即合,再次在资本市场收割一圈然后跑路。,希望贾老板下周真的能回国。, ,(本文来源:蓝鲸财经千寻专栏,版权归原作者所有)